3.1.5. Строительство каркаса рассадной теплицы

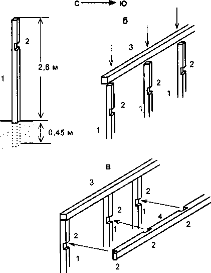
Рис. 3.6. Установка центральной стойки (а), конькового бруса (б) и балки для стопил южного ската: 1 — центральная стойка, 2 — пазы на стойках и балке, 3 — коньковый брус, 4 — балка
Выделенную под строительство площадку расчищают, разравнивают и размечают, вбивая колышки на месте боковых и подконьковых стоек. Длинные (боковые) стороны теплицы должны быть обращены на север и юг. Расстояние между стойками — 3 м, стойки заглубляют на 0,45 м. Боковые стойки возвышаются над уровнем земли на 1,7 м, подконьковые — на 2,6 м.
Прежде чем установить подконьковые стойки, на брусьях на расстоянии 0,45 м от конца выпиливают пазы глубиной 50 мм и шириной 100 мм. Стойки устанавливают так, чтобы пазы были обращены на юг (рис. 3.6, а).
На верхние концы стоек помещают балки. На каждый ряд боковых стоек помещают по одной балке, (т. е. по два 6-и метровых бруска). На подконьковых (центральных) стойках укрепляют 2 балки (всего 4 бруска длиной по 6 м): коньковый брус прибивают к верхним концам стоек (рис. 3.6,6), а вторую балку укрепляют в пазах, вырезанных на 0,45 м ниже (рис. 3.6, в). На ней также выпиливают пазы, и плотно подгоняют пазы друг к другу.
Боковые стороны центральных стоек и нижней балки должны быть вровень (заподлицо). Между коньковым брусом и нижней балкой остается 0,45‑метровый промежуток — вентиляционное отверстие.
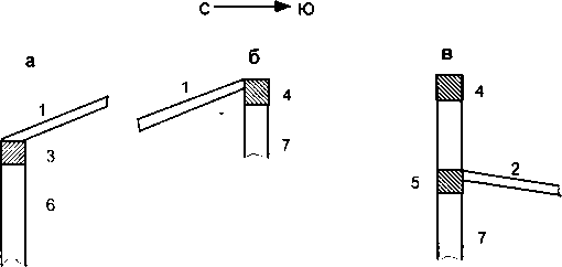
Разметьте на коньковом брусе посадочные места для стропил северного ската кровли, а на нижней балке — посадочные места для стропил южного ската. Расстояние между стропилами — 0,6 м. Рейки, предназначенные для стропил северного ската запиливают с одного конца под таким углом, чтобы стропила плотно прилегали сбоку к коньковому брусу, заподлицо с его верхним краем (рис.3.7, б). Другой конец реек запиливают таким образом, чтобы подогнать нижний конец стропил к верху боковой балки заподлицо с ее наружным краем. Стропила южного ската верхним концом крепят на балке, расположенной ниже вентиляционного отверстия, подгоняя их к боковой стороне, заподлицо с ее верхним краем (рис.3.7, в).

Рис. 3.7. Крепление стропил на боковых балках (а), на коньковом брусе (б) и на нижней центральной балке: 1 — стропила северного ската, 2 — стропила южного ската, 3 — боковая балка, 4 — коньковый брус, 5 — нижняя центральная балка, 6 —боковая стойка, 7 — подконьковая (центральная) стойка
Расстояние между боковыми шпросами — 0,6 м, их расположение соответствует расположению стропил. Верхний конец реек крепят на боковой балке с нижней ее стороны вровень с наружным краем, а нижней конец — на досках нижней обшивки, которые прибивают с наружной стороны каркаса.
Торцовые шпросы также устанавливают с промежутками 0,6 м, закрепляя их сверху на крайних стропилах северного и южного ската крыши. Размер двери 0,75x1,8 м. Двери делают с обеих торцовых сторон. Петли всегда навешивают с северной стороны дверного каркаса.
Для придания каркасу теплицы большей жесткости угловые соединения стоек и балок укрепляют подкосами (распорками), выполненными из дюймовых досок шириной 100 мм.
3.1.6. Обтягивание каркаса пленкой
Каркас теплицы обтягивают пленкой после сооружения столов (раздел 3.1.7).
Рекомендуется покрывать северный скат крыши и северную боковую стенку одним куском пленки. Работать с широким и длинным полотном можно только в абсолютно безветренную погоду. Пленку натягивают на каркас и закрепляют рейками на стропилах. В качестве предохранительной меры, (чтобы удержать пленку на месте в случае ветра), рейки сначала прибивают не подряд, а с пропусками. Только когда пленка закреплена по всей крыше, от торца до торца, набивают рейки на все оставшиеся стропила. Пленка закрепляется рейками на каждом из них. Чтобы пленки не рвалась при ветре, рейки должны плотно прилегать к стропилам, а промежутки между гвоздями должны быть не больше 0,3 м. Точно так же пленку прикрепляют рейками ко всем вертикальным элементам боковой стенки. Затем в том же порядке покрывают пленкой южный скат крыши и южную боковую сторону.
Торцовые стенки покрывают пленкой после того, как будут установлены на место дверные рамы. Пленкой покрывают весь торец целиком, включая дверные рамы. Пленку прикрепляют рейками к крайним стропилам, к вертикальным элементам торца и ко всем элементам дверной рамы. После этого пленку прорезают по всему периметру двери.
3.1.7. Установка форточки
После покрытия каркаса пленкой, в крыше остался проем (0,45 м), расположенный непосредственно под коньком над южным скатом крыши. Это вентиляционное отверстие, которое идет вдоль всей теплицы.
Для изготовления форточки нужна лента из полиэтиленовой пленки шириной 0,6 м и длиной 12 м. После установки столов на них вдоль всей теплицы выкладывают рейки (25x50 мм) произвольной длины. На рейки помещают край полиэтиленовой ленты. Поверх выкладывают второй ряд реек, и плотно сбивают верхние и нижние рейки вместе с расположенной между ними пленкой.
Свободный край пленки прибивают рейками к внутренней (северной) стороне конькового бруса сразу под стропилами. При таком креплении форточка, когда она висит свободно, прилегает к боковой (северной) стороне нижней балки и закрывает вентиляционное отверстие (рис. 3.5, а). Чтобы прилегание было плотным, нужно, чтобы внутренние боковые поверхности второй балки и подконьковых стоек, на которых она закреплена, были вровень друг с другом. Еще надежнее по всей внутренней боковой стороне второй балки набить выравнивающие рейки.
Форточку открывают с помощью веревок, прикрепленных к ее нижнему краю. На стропилах северного ската, на тех из них, которые расположены над стойками, укрепляют блоки или кольца, отступя на 0,7 м от конькового бруса. К рейкам, зажимающим нижний край полиэтиленовой форточки, прикрепляют прочные бельевые веревки и свободный их конец пропускают через блок или кольцо. Чтобы открыть форточку, достаточно потянуть за конец веревки.
Для фиксации форточки в определенном положении на веревках завязывают петли. Одну петлю делают на конце веревок, две другие завязывают, отступя от конца веревки на 0,3 м и на 0,6 м. В центральные стойки (или в ножки расположенных возле них столов) вбивают крупные гвозди или ввинчивают крючки, за которые цепляют петли. Длина веревок должна быть подобрана таким образом, чтобы при фиксации за верхнюю петлю, форточка была открыта полностью (рис.3.5, в). Фиксируя форточку с помощью двух других петель, можно регулировать ширину отверстия и устанавливать желаемый уровень вентиляции (рис.3.5, б).
3.1.8. Столы для рассадных ящиков
Выращивание рассады на столах создает удобства для огородника, в несколько раз снижает затраты труда и времени на уход за рассадой, улучшает фитосанитарные условия в рассаднике, предохраняет растения от заражения грибковыми заболеваниями.
Рассадные ящики располагают на столах вплотную друг к другу. Столы имеют высоту 0,75 м, ширину 0,9 м или 1,8 м, в зависимости от того, рассчитаны они на 2 или на 4 ряда ящиков. Вдоль всей теплицы идут три ряда столов — два 90-сантиметровых пристеночных и двойной ряд посередине.
Отличительная особенность столов — поперечное решетчатое покрытие. Столешницы делают решетчатыми, чтобы жидкость не застаивалась под ящиками, а свободно стекала на землю.
Для получения качественной рассады важно, чтобы поверхность столешниц была абсолютно ровной и горизонтальной. При сооружении столов горизонтальность столешниц обязательно проверяется по уровню.
Для ножек столов можно использовать жерди, которые нарезают на отрезки длиной 1 м и заостряют с одного конца. Боковые столы имеют 2 ряда ножек. Один ряд устанавливают по линии, соединяющей внутренние края боковых стоек теплицы, другой — отступя 0,75 м от этой линии. Заостренные отрезки жердей вбивают в землю на глубину 0,25 м на расстоянии 0,7 м один от другого (рис.3.8).